2021年人教版物理八年级下册 12.1.1杠杆及杠杆的平衡条件
一、单选题
1.如图所示衣架的挂钩两侧等距离安装着四个夹子。将三条相同的毛巾按下图各种挂法晾晒在室外的铁丝上,能让衣架在水平方向保持平衡的是( )
A.
B.
C.
D.
2.小华发现一只虫子在长50cm、质量10g的刻度尺上向右爬行,她将刻度尺右端伸出水平课桌边缘23cm,如图所示,当虫子爬行到距刻度尺右端3cm处时,刻度尺刚好翻转,由此计算出虫子的质量约为( )(g=10N/kg。刻度尺质量分布均匀,不考虑虫子的长度)
A.1g
B.3g
C.7g
D.10g
3.如图所示为探究杠杆平衡条件的实验装置,若每个钩码的质量为50g,为了让杠杆在水平位置平衡,下列判断正确的是( )(g取10N/kg)

A.在A点挂4个钩码能使杠杆平衡
B.在B点用弹簧测力计竖直向下拉,当示数为0.5N时,能使杠杆平衡
C.用弹簧测力计在B点拉,无论如何改变用力方向都要省力
D.用弹簧测力计在A点拉,无论如何改变用力方向都要费力
4.一轻质不等臂杠杆AOB的左右两端分别吊着一实心铝块和铜块,此时杠杆在水平位置平衡。现将铝块、铜块同时浸没在水中,如图所示。已知ρ水=1.0×10³kg/m³,ρ铝=2.7×10³kg/m³,ρ铜=8.9×10³kg/m³,则下列判断正确的是( )
A.A端下降
B.B端下降
C.仍然平衡
D.无法判断
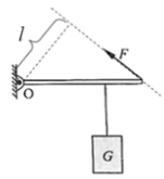
5.一根粗细均匀的木棒,斜靠在竖直墙壁上。墙壁光滑,地面粗糙,木棒受到的重力为G,墙壁对木棒的弹力为F,如图所示,现让木棒的倾斜度变小一些至虚线所示位置,木棒仍能静止斜靠在墙上,则与原来相比,G和F变化情况为( )
A.G不变,F变小
B.G不变,F变大
C.G变化,F变小
D.G变化,F变大
二、填空题
1.如图是一个人挑担子的示意图,扁担前端 A 处挂的重物质量是 m₁=20kg,后端 B 处挂的重物质量是 m₂=30kg。求:
(1)如果 A、B 两点间距离是 1.5m,则他的肩与前端 A 的距离为。
(2)若在两端再各加挂 100N 的重物,则他的肩应向端移动cm,才能使扁担恢复平衡。

3.在探究“杠杆平衡条件”的实验中,所用的器材有:每格长度等距的杠杆、支架、弹簧测力计、刻度尺、细线、每个重力都为0.5N的钩码若干个。
(1)实验前将杠杆中点置于支架上,调节平衡螺母使杠杆在水平位置静止的目的是:和消除杠杆自重对实验的影响。
(2)如甲图所示,杠杆处于平衡状态。若从杠杆的两侧同时减掉一个钩码,那么杠杆的(选填“右”或“左“)端下沉。
(3)在乙图中,将弹簧测力计由竖直方向旋转至沿虚线方向,如果要继续保持杠杆在水平方向静止,测力计的示数要(选填“变小”“不变”或“变大”)。
(4)如果忽略杠杆自重对实验的影响,则在丙图中要使杠杆在水平位置保持平衡,弹簧测力计对杠杆的最小拉力为。
三、按要求做题
3.如图是小明“探究杠杆平衡条件”的实验: 实验次数 左侧钩码数(个) 左侧钩码距离支点O(格) 右侧钩码数(个) 右侧钩码距离支点O(格) 1 2 3 3 2 2 1 6 3 2 3 2 6 3 4
(1)在水平静止的杠杆上A、B处,挂5个质量均为50g的钩码,如图甲所示,杠杆平衡。他猜想杠杆的平衡条件是:动力×动力臂=阻力×阻力臂;
(2)改变钩码数量与位置,数据记录如下表,分析表中数据,杠杆平衡条件应为____________。
(4)图丙是小明验证结论的实验,E点弹簧测力计示数是_______N(g取10N/kg)。
此内容正在抓紧时间编辑中,请耐心等待
徐老师
男,中教高级职称
从教20余年,市骨干优秀教师,注重教学改革与实践,曾在省级中学物理青年教师课堂大奖赛。





