2021年人教版八年级物理上册 4.2 光的反射
一、选择题
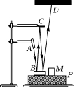
3.把微小放大以利于观察,这是物理学中一种重要的方法。如图是一种显示微小形变的装置。A为激光笔,B、C是平面镜,P为台面,未放重物时,激光束反射在屏上的光斑为点D,当把重物M放在台面P上时,台面将发生微小形变,以下说法正确的是( )
C.平面镜B上的入射角变大,光斑向D点的右侧移动
D.平面镜B上的入射角变大,光斑向D点的左侧移动
4.如图是晚上汽车在干燥的沥青路面和潮湿的沥青路面上行驶时大灯部分光路简图,在晚上开车时( )

A.潮湿的路面更容易发生光的漫反射
B.干燥的路面发生光的折射
C.对面无车时,驾驶员看潮湿的路面更暗
D.照射到干燥路面上的光不遵循光的反射定律
二、填空题
1.小明从汽车内的后视镜里看见驾驶员,此时驾驶员通过车内后视镜(选填“一定”“不一定”或“一定不”)能看到小明;小明在后视镜里看到的驾驶员的像是(选填“虚”或“实”)像。
2.西湖夏日分外妖娆,鸟语花香,绿柳成荫,水清可鉴,时而能看见鱼儿在白云间游曳,从物理学的角度分析“湖水可鉴”是由于光在水面发生(选填“镜面”或“漫”)反射,而水中“白云”是光的现象(选填“直线传播”或“反射”“折射”);看见水中“鱼儿”是光的折射所成的(选填“实像”或“虚像”)。
三、按要求做题
1.“探究光的反射规律”的实验装置如图甲所示,平面镜放在水平桌面上,标有刻度(图中未画出)的白色纸板ABCD能绕垂直于CD的ON轴翻转,在纸板上安装一支可在纸板平面内自由移动的激光笔。
(1)实验前,应将纸板_______放置平面镜上;移动激光笔,使入射光束绕入射点O沿逆时针方向转动,可观察到反射光束沿_______时针方向转动;
(2)移动激光笔,使入射角为45°,测得反射角也为45°,由此就得出“光反射时,反射角等于入射角”的结论你认为有何不妥之处?_______;
(3)如图乙所示,将纸板右半部分绕ON向后翻转任意角度,发现纸板上均无反射光束呈现此现象说明了:______________;
(4)在图甲中,若将纸板(连同激光笔)绕CD向后倾斜,此时反射光束_______(选填字母符号)。
A.仍在纸板上呈现
B.被纸板挡住
C.在纸板前方

此内容正在抓紧时间编辑中,请耐心等待
徐老师
男,中教高级职称
从教20余年,市骨干优秀教师,注重教学改革与实践,曾在省级中学物理青年教师课堂大奖赛。













